聯係電(diàn)話:
0523-8733 8088
產品詳(xiáng)情
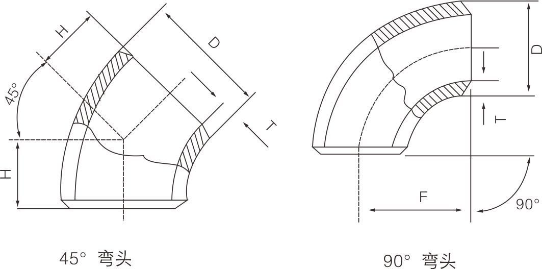
在管路係統中,彎頭是改變(biàn)管路方向(xiàng)的管件。按角度分,有45°及90°180°三種較常用的,另外根據工程需要還包括60°等其他非(fēi)正常角度彎頭。彎(wān)頭的材料有鑄鐵、不鏽鋼、合金鋼、可鍛鑄鐵、碳鋼、有色(sè)金屬(shǔ)及塑料等。與管子連(lián)接(jiē)的方式(shì)有:直接焊(hàn)接(較常用的方式)法蘭連接、熱熔連接、電熔連接、螺紋連接及承插式連接等。按照生產工藝可分為:焊接彎頭、衝壓彎頭、推製彎頭、鑄(zhù)造彎頭、對焊彎頭等。其他(tā)名稱:90度彎(wān)頭、直角(jiǎo)彎等。






